Product Summary
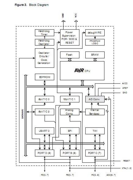
The ATMEGA88V is an 8-bit Microcontroller with 8K BytesIn-System Programmable Flash.
Parametrics
Absolute maximum ratings: (1)Operating Temperature:-55℃ to +125℃; (2)Storage Temperature:-65℃ to +150℃; (3)Voltage on any Pin except RESET; (4)with respect to Ground:-0.5V to VCC+0.5V; (5)Voltage on RESET with respect to Ground:-0.5V to +13.0V; (6)Maximum Operating Voltage:6.0V; (7)DC Current per I/O Pin:40.0 mA; (8)DC Current VCC and GND Pins:200.0 mA.
Features
Features: (1)131 Powerful Instructions-Most Single Clock Cycle Execution; (2)32 x 8 General Purpose Working Registers; (3)Fully Static Operation; (4)Up to 20 MIPS Throughput at 20 MHz; (5)On-chip 2-cycle Multiplier; (6)Real Time Counter with Separate Oscillator; (7)Six PWM Channels; (8)8-channel 10-bit ADC in TQFP and MLF package; (9)6-channel 10-bit ADC in PDIP Package; (10)Programmable Serial USART; (11)Master/Slave SPI Serial Interface; (12)Byte-oriented 2-wire Serial Interface; (13)Programmable Watchdog Timer with Separate On-chip Oscillator; (14)On-chip Analog Comparator; (15)Interrupt and Wake-up on Pin Change.
Diagrams

| Image | Part No | Mfg | Description | ![]() |
Pricing (USD) |
Quantity | ||||||||||||
|---|---|---|---|---|---|---|---|---|---|---|---|---|---|---|---|---|---|---|
![]() |
![]() ATmega88V |
![]() Other |
![]() |
![]() Data Sheet |
![]() Negotiable |
|
||||||||||||
![]() |
![]() ATmega88V-10AI |
![]() Atmel |
![]() 8-bit Microcontrollers (MCU) AVR 8K FLASH 1K SRAM 512B EE- 10MHZ |
![]() Data Sheet |
![]() Negotiable |
|
||||||||||||
![]() |
![]() ATmega88V-10AU |
![]() Atmel |
![]() 8-bit Microcontrollers (MCU) 8kB Flash 0.5kB EEPROM 23 I/O Pins |
![]() Data Sheet |
![]()
|
|
||||||||||||
![]() |
![]() ATMEGA88V-10AUR |
![]() Atmel |
![]() 8-bit Microcontrollers (MCU) AVR 8K FLSH 1K SRAM 512B EE-10MHz |
![]() Data Sheet |
![]()
|
|
||||||||||||
![]() |
![]() ATmega88V-10MI |
![]() Atmel |
![]() 8-bit Microcontrollers (MCU) AVR 8K FLASH 1K SRAM 512B EE- 10MHZ |
![]() Data Sheet |
![]() Negotiable |
|
||||||||||||
![]() |
![]() ATMEGA88V-10AJ |
![]() |
![]() IC MCU AVR 8K 5V 10MHZ 32-TQFP |
![]() Data Sheet |
![]() Negotiable |
|
||||||||||||
![]() |
![]() ATmega88V-10PU |
![]() Atmel |
![]() 8-bit Microcontrollers (MCU) 8kB Flash 0.5kB EEPROM 23 I/O Pins |
![]() Data Sheet |
![]()
|
|
||||||||||||
![]() |
![]() ATmega88V-10MU |
![]() Atmel |
![]() 8-bit Microcontrollers (MCU) 8kB Flash 0.5kB EEPROM 23 I/O Pins |
![]() Data Sheet |
![]()
|
|
||||||||||||
(China (Mainland))












