Product Summary
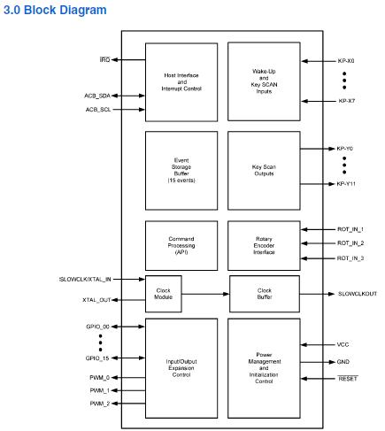
The LM8323JGR8AXM is a dedicated device to unburden a host from scanning a matrix-addressed keypad. In addition, the LM8323JGR8AXM provides general-purpose I/O expansion, a rotary encoder interface and PWM outputs useful for dynamic LED brightness modulation.
Parametrics
LM8323JGR8AXM absolute maximum ratings: (1)Supply Voltage (VCC): 2V; (2)Voltage at Any Pin: -0.3V to VCC +0.3V; (3)Maximum Input Current Without Latchup: ±100 mA; (4)ESD Protection Level (Human Body Model): 2 kV; (5)(Machine Model): 200V; (6)(Charge Device Model): 750V; (7)Total Current into VCC Pin (Source): 100 mA; (8)Total Current out of GND Pin (Sink): 100 mA; (9)Storage Temperature Range: -65 to +140℃.
Features
LM8323JGR8AXM features: (1)Supports keypad matrices of up to 8 × 12 keys plus 8 special-function (SF) keys for a total of 104 keys. SF keys pull keypad scan inputs directly to ground, rather than connecting to a keypad scan output; (2)Supports I2C-compatible ACCESS.bus interface in slave mode up to 400 kHz (Fast-mode); (3)Three host-programmable PWM outputs useful for smooth LED brightness modulation; (4)Supports general-purpose I/O expansion on pins not otherwise used for keypad or rotary encoder interface; (5)Key-scan event storage in a FIFO buffer for up to 15 events; (6)Key events, errors, and dedicated hardware interrupts request host service by asserting the IRQ output; (7)The correct reception of a command may be assumed, if no error is reported from the LM8323 after receiving it; (8)Wake-up from Halt mode on any matrix key-scan event, any use of the SF keys, or any activity on the ACCESS.bus interface, or any change in the rotary encoder counter value (if enabled).
Diagrams

| Image | Part No | Mfg | Description | ![]() |
Pricing (USD) |
Quantity | ||||||||||
|---|---|---|---|---|---|---|---|---|---|---|---|---|---|---|---|---|
![]() |
![]() LM8323JGR8AXM/NOPB |
![]() National Semiconductor (TI) |
![]() Other Power Management |
![]() Data Sheet |
![]()
|
|
||||||||||
![]() |
![]() LM8323JGR8AXMX/NOPB |
![]() National Semiconductor (TI) |
![]() Other Power Management |
![]() Data Sheet |
![]()
|
|
||||||||||
(China (Mainland))







